
若您需订购圆柱齿轮减速机,或订购本公司配件请登陆我们的网站:www.txjsj82.com
销售服务热线:0523-87920287 87921086
公司传真:0523-87921086
公司地址:泰兴市泰兴镇姚王
E-mail:28344966@qq.com
发布时间:2018-07-12 22:16:00 点击:
圆柱齿轮减速机2018-07-12讯
圆柱齿轮减速机、齿轮减速机2018年7月12日讯 齿轮传动是一种应用最广的机械传动形式,具有传动效率高、结构紧凑等特点。但由于不可避免地存在制造和安装误差,齿轮传动装置的振动和噪声往往较大,特别是在一些大功率传动装置中(如兆瓦级风力发电增速器、船用齿轮减速器等,以及对舒适性要求较高的传动装置中(如汽车变速箱等),振动和噪声问题尤为突出。
齿轮修形是降低齿轮传动装置振动和噪声的一种成熟而有效的技术,近年来获得了越来越广泛的应用。齿轮修形包括齿廓修形和齿向修形,本研究中作者分别介绍了其基本原理以及应用情况。
1齿廓修形原理
齿轮啮合传动过程中主、被动齿轮的基节必须处处相等,从理论上讲,精确的渐开线刚性齿轮是完全能够实现上述目标的。但实际中的齿轮副均为弹性体,在一定啮合力作用下会产生相应的弹性变形,使处于啮合线位置的主动轮和被动轮基节出现变化,不再相等。如图1(a)所示,当齿对2进入啮入位置时,由于齿对1的变形,主动轮基节Pb1小于被动轮基节Pb2,轮齿啮入点的啮合力骤然增高,形成了通常所说的啮入冲击。与此类似,如图1(b)所示,在齿对1即将脱离啮合接触时,由于齿对2的变形,Pb1>Pb2,主动轮齿顶将沿被动轮齿根刮行,形成通常所说的啮出冲击。
为了消除轮齿啮入和啮出冲击,通常采用齿廓修形的方法,即沿齿高方向从齿面上去除一部分材料,从而改变齿廓形状,消除齿对在啮入、啮出位置的几何干涉。

图1 齿对在啮入、啮出位置的几何干涉
2齿廓修形的效果分析
齿廓修形的参数包括修形量、修形长度和修形曲线。图2为某大型风力发电齿轮增速箱输出级宽斜齿轮副传动示意图,齿轮传动参数见表1。作者应用有限元接触分析技术计算了未修形和不同修形参数下各啮合齿对上载荷分配情况。在小齿轮齿顶修形量为0.025mm,齿根修形量为0.05mm,修形起点为单双齿啮合交替点,修形曲线采用二次曲线的情况下,各啮合齿对上载荷的分配情况见图3。与未修形时相比,进入啮合位置载荷下降约20%,退出啮合位置载荷下降约40%。增大修形量,啮入和啮出位置轮齿上载荷还将进一步降低。因此,齿廓修形可以显著改善齿轮传动的平稳性。

图2 有限元模型

图3 齿间载荷分配
1齿向修形原理
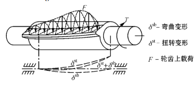
齿轮传动系统在载荷的作用下将会产生弹性变形(图4),包括轮齿的弯曲变形、剪切变形和接触变形,还有支撑轴的弯曲变形和扭转变形。这些变形将会使轮齿的螺旋线发生畸变,导致轮齿沿一端接触,造成载荷分布不均匀,出现偏载现象。

图4 齿轮传动系统的变形和载荷分布
齿向修形就是根据轮齿受力后产生的变形,将齿轮螺旋角和轴向齿形按预定规律进行修正,以获得较为均匀的齿向载荷分布。
2齿向修形效果分析
在前例中,由于主动齿轮(大齿轮)支撑跨距小,齿轮直径大,弯曲、扭转变形小,因此,主动齿轮螺旋角不修形。被动齿轮(小齿轮)支撑跨距大,弯曲、扭转变形大,因此,只对被动齿轮进行螺旋角修形。图5为被动齿轮螺旋角修形量分别为0″、30″、46″、60″时齿向载荷的分配情况。在螺旋角没有修形的情况下(修形量为0″),载荷偏向转矩输入端;随着修形量增大,偏载现象逐步改善,在修形量为46″的情况下,承载最大的轮齿上载荷最小,载荷沿齿宽对称分布,螺旋角修形量取得最优解;再增大修形量,载荷偏向轮齿另一端。

图5 齿向载荷分布